作者: 杏盛-焊接工发表时间:2020-08-04 18:13:24浏览量:9515【小中大】
一般从供货商那里拿到货以后,首先要对产品进行检测,以防拿到次品。最通用的方法就是使用万用表来进行测量,操作方法简单,今天教大家怎样使用万用表测量贴片电容好坏。
首先,我们要知道怎样使用万用表测贴片电容,具体方法如下:
1、还把万用表调到欧姆档适当档位,档位选择的原则是:1μF的电容用了20K档,1-100μF电容用了2K档,大于100,μF的用了200档。
2、判断极性,先将把万用表调到100或1K欧姆档,假定一极为正极,就让黑表笔与它连接,红表笔和另一极连接,记下阻值,再然后把电容放电,即让两极接触,再然后换表笔测电阻,阻值大的一次黑表笔对接的就是电容的正极。
3、然后用万用表的红笔接电容的正极,黑笔接电容的负极,如果显示从0慢慢增加,最后显示溢出符号1则电容正常,如果始终显示为0,则电容内部短路,如果始终显示1, 则电容内部断路。

固定电容器的检测
1、检测10pF以下的小电容
因10pF以下的固定电容器容量太小,用万用表进行测量,只能定性的检查其是否有漏电,内部短路或击穿现象。测量时,可选用万用表R×10k挡,用两表笔分别任意接电容的两个引脚,阻值应为无穷大。若测出阻值(指针向右摆动)为零,则说明电容漏电损坏或内部击穿。
2、检测10PF~0.01μF固定电容器是否有充电现象,进而判断其好坏。万用表选用R×1k挡。两只三极管的β值均为100以上,且穿透电流要小。可选用3DG6等型号硅三极管组成复合管。万用表的红和黑表笔分别与复合管的发射极e和集电极c相接。由于复合三极管的放大作用,把被测电容的充放电过程予以放大,使万用表指针摆幅度加大,从而便于观察。应注意的是:在测试操作时,特别是在测较小容量的电容时,要反复调换被测电容引脚接触A、B两点,才能明显地看到万用表指针的摆动。
3、对于0.01μF以上的固定电容,可用万用表的R×10k挡直接测试电容器有无充电过程以及有无内部短路或漏电,并可根据指针向右摆动的幅度大小估计出电容器的容量。

电解电容器的检测
1、因为电解电容的容量较一般固定电容大得多,所以,测量时,应针对不同容量选用合适的量程。根据经验,一般情况下,1~47μF间的电容,可用R×1k挡测量,大于47μF的电容可用R×100挡测量。
2、将万用表红表笔接负极,黑表笔接正极,在刚接触的瞬间,万用表指针即向右偏转较大偏度(对于同一电阻挡,容量越大,摆幅越大),接着逐渐向左回转,直到停在某一位置。此时的阻值便是电解电容的正向漏电阻,此值略大于反向漏电阻。实际使用经验表明,电解电容的漏电阻一般应在几百kΩ以上,否则,将不能正常工作。在测试中,若正向、反向均无充电的现象,即表针不动,则说明容量消失或内部断路;如果所测阻值很小或为零,说明电容漏电大或已击穿损坏,不能再使用。
3、对于正、负极标志不明的电解电容器,可利用上述测量漏电阻的方法加以判别。即先任意测一下漏电阻,记住其大小,然后交换表笔再测出一个阻值。两次测量中阻值大的那一次便是正向接法,即黑表笔接的是正极,红表笔接的是负极。D?使用万用表电阻挡,采用给电解电容进行正、反向充电的方法,根据指针向右摆动幅度的大小,可估测出电解电容的容量。
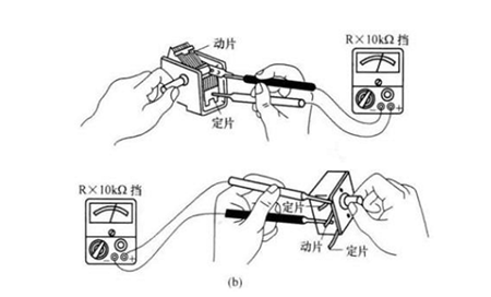
可变电容器的检测

1、用手轻轻旋动转轴,应感觉十分平滑,不应感觉有时松时紧甚至有卡滞现象。将载轴向前、后、上、下、左、右等各个方向推动时,转轴不应有松动的现象。
2、用一只手旋动转轴,另一只手轻摸动片组的外缘,不应感觉有任何松脱现象。转轴与动片之间接触不良的可变电容器,是不能再继续使用的。
3、将万用表置于R×10k挡,一只手将两个表笔分别接可变电容器的动片和定片的引出端,另一只手将转轴缓缓旋动几个来回,万用表指针都应在无穷大位置不动。在旋动转轴的过程中,如果指针有时指向零,说明动片和定片之间存在短路点;如果碰到某一角度,万用表读数不为无穷大而是出现一定阻值,说明可变电容器动片与定片之间存在漏电现象。

怎么测量贴片电容的好坏?
怎么测量贴片电容的好坏?贴片电容引用在各大电子行业,由于它的体积小长相也基本相似,所以在测量大批贴片电容时切勿混淆,以免导致二次维修。测量贴片电容的好坏方法如下:
第一:电容的功能和表示方法。
电容有两个金属极,中间夹有绝缘介质构成。电容的特性主要是隔直流通交流,因此多用于级间耦合、滤波、去耦、旁路及信号调谐。电容在电路中用“C”加数字表示,比如C8,表示在电路中编号为8的电容。
第二:电容的分类。
电容按介质不同分为:气体介质电容,液体介质电容,无机固体介质电容,有机固体介质电容电解电容。按极性分为:有极性电容和无极性电容。按结构可分为:固定电容,可变电容,微调电容。
第三:电容的容量单位和耐压。
电容的基本单位是F(法),其它单位还有:毫法(mF)、微法(uF)、纳法(nF)、皮法(pF)。由于单位F的容量太大,所以我们看到的一般都是μF、nF、pF的单位。换算关系:1F=1000000μF,1μF=1000nF=1000000pF。
每一个电容都有它的耐压值,用V表示。一般无极电容的标称耐压值比较高有:63V、100V、160V、250V、400V、600V、1000V等。有极电容的耐压相对比较低,一般标称耐压值有:4V、6.3V、10V、16V、25V、35V、50V、63V、80V、100V、220V、400V等。
第四:电容的容量。
电容容量表示能贮存电能的大小。电容对交流信号的阻碍作用称为容抗,容抗与交流信号的频率和电容量有关,容抗XC=1/2πfc(f表示交流信号的频率,C表示电容容量)。

第五:电容的正负极区分和测量。
电容上面有标志的黑块为负极。在PCB上电容位置上有两个半圆,涂颜色的半圆对应的引脚为负极。也有用引脚长短来区别正负极长脚为正,短脚为负。
当我们不知道电容的正负极时,可以用万用表来测量。电容两极之间的介质并不是绝对的绝缘体,它的电阻也不是无限大,而是一个有限的数值,一般在1000兆欧以上。电容两极之间的电阻叫做绝缘电阻或漏电电阻。只有电解电容的正极接电源正(电阻挡时的黑表笔),负端接电源负(电阻挡时的红表笔)时,电解电容的漏电流才小(漏电阻大)。反之,则电解电容的漏电流增加(漏电阻减小)。
在不知情的情况下可以先假定某极为“+”极,万用表选用R*100或R*1K挡,然后将假定的“+”极与万用表的黑表笔相接,另一电极与万用表的红表笔相接,记下表针停止的刻度(表针靠左阻值大),对于数字万用表来说可以直接读出读数。然后将电容放电(两根引线碰一下),然后两只表笔对调,重新进行测量。两次测量中,表针最后停留的位置靠左(或阻值大)的那次,黑表笔接的就是电解电容的正极。

第六:电容的标注方法和容量误差。
电容的标注方法分为:直标法、色标法和数标法。对于体积比较大的电容,多采用直标法。如果是0.005,表示0.005uF=5nF。如果是5n,那就表示的是5nF。
数标法:一般用三位数字表示容量大小,前两位表示有效数字,第三位数字是10的多少次方。如:102表示10x10x10PF=1000PF,203表示20x10x10x10PF。
色标法,沿电容引线方向,用不同的颜色表示不同的数字,第一、二种环表示电容量,第三种颜色表示有效数字后零的个数(单位为pF)。颜色代表的数值为:黑=0、棕=1、红=2、橙=3、黄=4、绿=5、蓝=6、紫=7、灰=8、白=9。
电容容量误差用符号F、G、J、K、L、M来表示,允许误差分别对应为±1%、±2%、±5%、±10%、±15%、±20%。
深圳市昂洋科技是拥有十多年的批发代理、生产、销售电容器,电感器,电阻器等产品的综合供应商;主要经营的产品有贴片电容,合金电阻,贴片电阻,二三极管,功率电感,高频电感,磁珠类市面主流的电子元器件,合作的品牌有村田、三星、国巨、xs-、风华等国际大型知名品牌,厂家直接进货,提供技术支持,对产品品质严格把控,欢迎您咨询与合作。